Innovations in sensor technology, tissue and genome engineering, DNA nanotechnology and more
To realize its overarching goal to invent and commercialize disruptive solutions for healthcare, energy, architecture, robotics, and manufacturing, the Wyss Institute is creating a patent portfolio in relevant areas that are or can become an essential basis for specific business development and commercialization efforts. To learn more about these innovations, contact our Business Development Team.
The Wyss Institute’s U.S. patents issued between October and December 2018 are as follows:

Printed stretchable strain sensor
U.S. Patent 10,151,649 (December 11, 2018)
Jennifer A. Lewis, Joseph T. Muth, Daniel M. Vogt, Ryan L. Truby, Yigit Menguc, David B. Kolesky, and Robert J. Wood
A printed stretchable strain sensor comprises a seamless elastomeric body and a strain-sensitive conductive structure embedded in the seamless elastomeric body. The strain-sensitive conductive structure comprises one or more conductive filaments arranged in a continuous pattern. A method of printing a stretchable strain sensor comprises depositing one or more conductive filaments in a predetermined continuous pattern into or onto a support matrix. After the depositing, the support matrix is cured to embed a strain-sensitive conductive structure in a seamless elastomeric body.
Self-folding machines
U.S. Patent 10,151,304 (December 11, 2018)
Samuel M. Felton, Robert J. Wood, Michael T. Tolley, Erik D. Demaine, and Daniela Rus
A self-folding machine comprises a laminate including a flexible layer with a first side and a second side; a first rigid layer including at least one gap laminated to the first side of the flexible layer; a second rigid layer including at least one gap laminated to the second side of the flexible layer, wherein the rigid layers are more rigid than the flexible layer; a first contractible layer laminated to the first rigid layer and extending across at least one gap in the first rigid layer; and a second contractible layer laminated to the second rigid layer and extending across at least one gap in the second rigid layer, wherein the first and second contractible layers retract to respectively create folds in the machine across gaps in the first and second rigid layers when activated.

Devices for wound healing
U.S. Patent 10,130,661 (November 20, 2018)
Aristidis Veves, David J. Mooney, and Jonathan Garlick
The present invention provides devices and methods for improving wound healing, in particular, in diabetic subjects.
Bacterial spore based energy system
U.S. Patent 10,125,747 (November 13, 2018)
Ozgur Sahin
A method and system for providing an engine for producing mechanical energy through the absorption and evaporation of moisture uses a hygroscopic material in one or more configurations to do mechanical work. The hygroscopic material can include microbial spores, plant cells and cell materials, silk and hydrogel materials that absorb moisture and expand or swell when exposed to high relative humidity environments and shrink or return to nearly their original size or shape when exposed to low relative humidity environments wherein the moisture evaporates and is released. By exposing the hygroscopic material to a cycle of high relative humidity environments and low relative humidity environments, useful work can be done. One or more transmission elements can be used to couple the hygroscopic material to a generator that converts the mechanical energy to, for example, electrical energy. The hygroscopic material can be applied to flexible sheet materials that flex as the hygroscopic material absorbs or evaporates moisture. The hygroscopic material can also be applied to elastic conductive materials, such that the plates of a capacitor mechanically change the capacitance of the device.

Method of printing a tissue construct with embedded vasculature
U.S. Patent 10,117,968 (November 6, 2018)
Jennifer A. Lewis, David B. Kolesky, Mark A. Skylar-Scott, Kimberly A. Homan, Ryan L. Truby, and Amelia Sydney Gladman
A printed tissue construct comprises one or more tissue patterns, where each tissue pattern comprises a plurality of viable cells of one or more predetermined cell types. A network of vascular channels interpenetrates the one or more tissue patterns. An extracellular matrix composition at least partially surrounds the one or more tissue patterns and the network of vascular channels. A method of printing a tissue construct with embedded vasculature comprises depositing one or more cell-laden filaments, each comprising a plurality of viable cells, on a substrate to form one or more tissue patterns. Each of the one or more tissue patterns comprises one or more predetermined cell types. One or more sacrificial filaments, each comprising a fugitive ink, are deposited on the substrate to form a vascular pattern interpenetrating the one or more tissue patterns. The vascular pattern and the one or more tissue patterns are at least partially surrounded with an extracellular matrix composition. The fugitive ink is then removed to create vascular channels in the extracellular matrix composition, thereby forming an interpenetrating vascular network in a tissue construct.

Systems and methods for detecting overstriding in runners
U.S. Patent 10,115,319 (October 30, 2018)
Conor J. Walsh, Stephanie Hsiang-Ting Liu, Panagiotis Polygerinos, and Daniel E. Lieberman
Methods and systems for detecting overstride in runners include measuring, using an inertial measurement unit affixed to a shank of a person, an acceleration and an angle of the shank during a stride, monitoring, using a microprocessor, the shank acceleration measurements to detect an acceleration profile indicative of the corresponding foot making initial contact with the ground during the stride, determining, using the microprocessor, the corresponding shank angle at initial contact from the shank angle measurements, comparing, using the microprocessor, the shank angle at initial contact to a threshold shank angle, and identifying, using the microprocessor, an overstride of the corresponding leg if the shank angle at initial contact exceeds the threshold shank angle.
Modular, millimeter-scale, light-intensity-based force sensing system
U.S. Patent 10,105,035 (October 23, 2018)
Joshua Gafford, Conor J. Walsh, and Robert J. Wood
A light-intensity-based forced sensor comprises a Sarrus linkage, a biasing mechanism, a light emitter, and a light detector includes a first plate, a second plate, and at least one collapsible linkage pivotably coupled to both the first and the second plates. The biasing mechanism biases the collapsible linkage toward an extended configuration. The light emitter is coupled with and displaceable with the first plate; and the light detector is coupled with and displaceable with the second plate and configured to receive light emitted from the light emitter and generate an electrical signal in response to light received from the light emitter, wherein the generated electrical signal provides an indication of the distance between the first plate and the second plate. The sensor can be distally mounted on, e.g., an endoscope to provide haptic feedback at the distal end of the endoscope.

Mutant Cas9 proteins
U.S. Patent 10,100,291 (October 16, 2018)
Alejandro Chavez, Frank Poelwijk, and George M. Church
Methods of making deletion mutants of Cas9 proteins and making chimeric Cas9 proteins are described. The Cas9 N- and C-terminal domains may play critical roles in crRNAitracrRNA binding and/or PAM selectivity. To analyze activity, a series of domain exchange mutants between NM and STI (Streptococcus thermophilus Cas9) were made, replacing the N and/or C terminus of NM (Neisseria meningitides Cas9) with the homologous region from STI. The chimeric proteins were then tested using the transcriptional reporter assay described herein altering the guideRNA and/or Cas9 specific PAM within the reporter to determine the influence of the domain exchanges on protein specificity. None of the N-terminal domain swaps between NM and STI endowed NM with novel properties. The C-terminal exchange generated a NM-STI hybrid that was capable of interacting with the STI crRNAitracrRNA complex and was further able to suppress a reporter with a STI specific PAM.
Scalable nucleic acid-based nanofabrication
U.S. Patent 10,099,920 (October 16, 2018)
Jie Shen, Wei Sun, and Peng Yin
The present disclosure relates to the alignment of moieties (e.g., nanoparticles and/or nanowires) into prescribed architectures on two- and/or three-dimensional substrates (e.g., nucleic acid nanostructures/crystals). The present disclosure also relates to a nucleic acid (e.g., DNA) lithography method that includes, in some embodiments, adsorbing a bare nucleic acid nanostructure onto a surface of a substrate, and etching the surface of the substrate containing the bare nucleic acid nanostructure, thereby producing a patterned substrate.
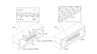
Organ chips and uses thereof
U.S. Patent 10,087,422 (October 2, 2018)
Donald E. Ingber, Kevin Kit Parker, Geraldine A. Hamilton, and Anthony Bahinski
Disclosed herein are organ chips that can be individually used or integrated together to form different microphysiological systems, e.g., for use in cell culturing, drug screening, toxicity assays, personalized therapeutic treatment, scaffolding in tissue repair and/or replacement, and/or pharmacokinetic or pharmacodynamics studies.

Membrane-based fluid-flow control devices
U.S. Patent 10,086,372 (October 2, 2018)
Guy Thompson, Daniel Levner, and Christopher David Hinojosa
Described herein are fluid-flow control devices for transferring a fluid from a place to another and/or controlling a fluid flow. In some embodiments, fluid-flow control devices described herein can be used as pumping devices to transfer a fluid by peristaltic motion and/or as valve devices to control fluid flow for various applications, e.g., in a microfluidic platform.
Color- or grayscale-sensing, magnetic, mobile, marking robot
U.S. Patent 10,086,516 (October 2, 2018)
Zivthan A. Dubrovsky, Raphael G. Cherney, Michael Mogenson, Justin Werfel, Kathleen O’Donnell, Radhika Nagpal, Nils Napp, Hani M. Sallum, and Julian U. da Silva Gillig
In a method for interactive marking by a mobile robot on a vertical surface, a mobile robot that includes a sensor and an actuated marker is displaced across a vertical surface. Features on, in or behind the vertical surface are detected with the sensor. Displacement of the mobile robot and actuation of the actuated marker is controlled in response to the detection of these features.
